Another basket case project, but with potentially a different end goal!
- McBoney
-
Topic Author
- Offline
- Platinum Member
-
- Posts: 585
- Thanks: 96
Re: Another basket case project, but with potentially a different end goal!
6 years 10 months ago - 6 years 10 months ago
Ha, I just found the Kawasaki dealer in Holland (I am Dutch, so that helps!). They have a great website with all the part numbers and prices!
parts.kawasaki.eu/kepcc/kepcc?ALIAS=9925...AVIGATION=_BRANCH_UP
And Oz from Zedparts.com here in the UK also has many parts - they remanufactured the mechanical seal themselves and are selling at below factory price!
Result!
Other result: got a good set of secondhand 10-hole pistons but one ring was VERY stuck (there is always the one!). Heated up with propane torch, cooled down, soaked in oil and degreaser and then in ATF consecutively over three nights. Then heated up again and he, presto, it popped out with no damage.
Now cleaned and looking great!
One not-so-good result is that the clear coat on one engine cover wrinkled badly (not sure why), and I have to strip all the paint and start again, for the third time.
Fingers crossed this time it works, then painting (of the engine) is done.
Getting there...
Paul
parts.kawasaki.eu/kepcc/kepcc?ALIAS=9925...AVIGATION=_BRANCH_UP
And Oz from Zedparts.com here in the UK also has many parts - they remanufactured the mechanical seal themselves and are selling at below factory price!
Result!

Other result: got a good set of secondhand 10-hole pistons but one ring was VERY stuck (there is always the one!). Heated up with propane torch, cooled down, soaked in oil and degreaser and then in ATF consecutively over three nights. Then heated up again and he, presto, it popped out with no damage.

Now cleaned and looking great!
One not-so-good result is that the clear coat on one engine cover wrinkled badly (not sure why), and I have to strip all the paint and start again, for the third time.

Getting there...
Paul
Six-Pot-Cafe in the making...
Last edit: 6 years 10 months ago by McBoney.
Please Log in or Create an account to join the conversation.
- McBoney
-
Topic Author
- Offline
- Platinum Member
-
- Posts: 585
- Thanks: 96
Re: Another basket case project, but with potentially a different end goal!
6 years 10 months ago - 6 years 10 months ago
Got a lot done today... engine cases came back from 'the bakers' and they look great.
Back on the rack in the kitchen starting the rebuild. First the final drive section.
Make sure the end bearing is in place with the shims in the right order.
Then also make sure the hole in the end bearing aligns with the oil cut-out in the case.
Shell bearings in place - lubricate generously with assembly lube (really sticky oil)
Then the crankshaft with the new drive chain can be dropped in (gently)
After that the secondary drive shaft can be dropped in, with the new secondary drive chain attached, as well as the water pump and camshaft chains. Make sure it is synchronised with the crankshaft by lining up the timing makes on both shafts and counting seven chains between them (page 109 of the manual). You can just make out the mark on the left hand side, then you can count seven links to the right and there ,barely visible, is the other mark.
The finally the clutch driven shaft can be dropped in - no need to synchronise that with anything, just make sure it fits properly by turning the crank and seeing that everything runs freely.
Finally don't forget the oil catch
and the chain tensioner lip plus rubber bung
I liberally used (oil dissolving) assembly grease on all the 'teethed' wheels I could see and also applied assembly lube on all the chains and bearings.
Back on the rack in the kitchen starting the rebuild. First the final drive section.
Make sure the end bearing is in place with the shims in the right order.
Then also make sure the hole in the end bearing aligns with the oil cut-out in the case.
Shell bearings in place - lubricate generously with assembly lube (really sticky oil)
Then the crankshaft with the new drive chain can be dropped in (gently)
After that the secondary drive shaft can be dropped in, with the new secondary drive chain attached, as well as the water pump and camshaft chains. Make sure it is synchronised with the crankshaft by lining up the timing makes on both shafts and counting seven chains between them (page 109 of the manual). You can just make out the mark on the left hand side, then you can count seven links to the right and there ,barely visible, is the other mark.
The finally the clutch driven shaft can be dropped in - no need to synchronise that with anything, just make sure it fits properly by turning the crank and seeing that everything runs freely.
Finally don't forget the oil catch
and the chain tensioner lip plus rubber bung
I liberally used (oil dissolving) assembly grease on all the 'teethed' wheels I could see and also applied assembly lube on all the chains and bearings.
Six-Pot-Cafe in the making...
Last edit: 6 years 10 months ago by McBoney.
Please Log in or Create an account to join the conversation.
- McBoney
-
Topic Author
- Offline
- Platinum Member
-
- Posts: 585
- Thanks: 96
Re: Another basket case project, but with potentially a different end goal!
6 years 10 months ago
And then the reason I did all this: The new drive chains.
Please see my video here (and understand that when I say timing chain, I mean drive chain! :S )
vimeo.com/user90602898/review/302147659/5b7343cdf2
Please see my video here (and understand that when I say timing chain, I mean drive chain! :S )
vimeo.com/user90602898/review/302147659/5b7343cdf2
Six-Pot-Cafe in the making...
Please Log in or Create an account to join the conversation.
- McBoney
-
Topic Author
- Offline
- Platinum Member
-
- Posts: 585
- Thanks: 96
Re: Another basket case project, but with potentially a different end goal!
6 years 10 months ago - 6 years 10 months ago
Assembly time! 
Have I got all the bolts? All with their heads painted silver to match the casing.
Then, apply a thin layer of gasket sealant, I used copper-based stuff.
Drop all the bolts in, hand tight, then torque to the right settings (don't forget to use Locktite!)
Turn the engine over (nearly dropped off the rack - I forgot how heavy it is with all the gubbins in!) and insert and tighten the rest of the bolts
Finally put the oil screen back in
Done!

BUT... there is still one clip on the table... where the h*ll does that go?? Grrr
:S

Have I got all the bolts? All with their heads painted silver to match the casing.
Then, apply a thin layer of gasket sealant, I used copper-based stuff.
Drop all the bolts in, hand tight, then torque to the right settings (don't forget to use Locktite!)
Turn the engine over (nearly dropped off the rack - I forgot how heavy it is with all the gubbins in!) and insert and tighten the rest of the bolts
Finally put the oil screen back in
Done!


BUT... there is still one clip on the table... where the h*ll does that go?? Grrr

Six-Pot-Cafe in the making...
Last edit: 6 years 10 months ago by McBoney.
Please Log in or Create an account to join the conversation.
- StanG
-
- Offline
- Banned
-
- Posts: 2118
- Thanks: 248
Re: Another basket case project, but with potentially a different end goal!
6 years 10 months ago
Looking good! There a a couple things I'd mention.
The cover - did you properly de-grease the surface? Also, with a brush I applied POR-15 etching solution, then rinsed very well with water and dried before painting anything. The wrinkled paint looks like it didn't stick well or had an adverse reaction to whatever was underneath.
The pistons - get a small cheap ultrasonic cleaner and give each of the pistons a bath. They will come out shiny like new. It's late now, but it also worked wonders on the rings I had stuck - about 20 or so on all the pistons. Stuck absolutely solid. All just popped out after ultrasonic cleaning, although it took 2 or even 3 times for a few rings.
Once the cases are closed, I'd put a plastic tub under the engine (after flipping it over without the oil pan), and spray fresh oil here and there from the top, turning the crank. That will lubricate the small tight places.
Cheers!
The cover - did you properly de-grease the surface? Also, with a brush I applied POR-15 etching solution, then rinsed very well with water and dried before painting anything. The wrinkled paint looks like it didn't stick well or had an adverse reaction to whatever was underneath.
The pistons - get a small cheap ultrasonic cleaner and give each of the pistons a bath. They will come out shiny like new. It's late now, but it also worked wonders on the rings I had stuck - about 20 or so on all the pistons. Stuck absolutely solid. All just popped out after ultrasonic cleaning, although it took 2 or even 3 times for a few rings.
Once the cases are closed, I'd put a plastic tub under the engine (after flipping it over without the oil pan), and spray fresh oil here and there from the top, turning the crank. That will lubricate the small tight places.
Cheers!
Please Log in or Create an account to join the conversation.
- Kawboy
-
- Offline
- Sustaining Member
-
- Posts: 3240
- Thanks: 1166
Re: Another basket case project, but with potentially a different end goal!
6 years 10 months ago
Getting there Paul.
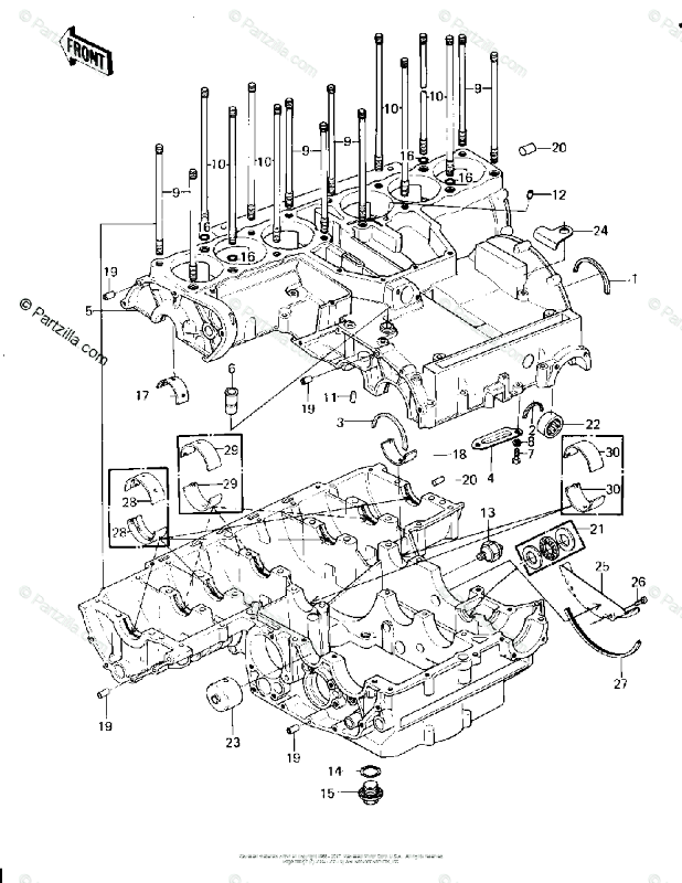
The Clip goes on the top half of the crankcase right behind the clutch basket recess. Item #24 in Pic
The Clip goes on the top half of the crankcase right behind the clutch basket recess. Item #24 in Pic
Please Log in or Create an account to join the conversation.
Moderators: dcarver220b
Time to create page: 0.252 seconds